⚠️ 이 블로그는 다른 사람이 보고 따라하라고 적은 게 아닌 작성자의 복기만을 위한 블로그입니다
OAuth는 참 편리하지만, 사용하기 위해 알아야 할 지식이 많습니다. 그걸 전부 정리해보겠습니다
OAuth란 무엇인가?
- OAuth는 인터넷 서비스 간에 비밀번호를 공유하지 않고 안전하게 권한을 위임할 수 있도록 만든 개방형 표준 프로토콜입니다
- 사용자는 계정 비밀번호를 알려주지 않고도 제3자 앱이 자신의 프로필을 조회하거나 게시물을 올릴 수 있게 허용할 수 있습니다
- OAuth는 이때 “엑세스 토큰”이라는 짧은 수명 권한 증명만을 주고받아, 실제 비밀번호 노출 없이 필요한 범위만 접근하도록 보장합니다
주요 용어
- Resource Owner (자원 소유자) : 실제 사용자
- Client (클라이언트) : 앱이나 서비스
- Authorization Server (인가 서버) : 권한을 확인하고 토큰을 발급하는 서버
- Resource Server (자원 서버) : 실제 데이터를 보관하는 서버
네 가지 권한 부여 방식 (Grant Type)
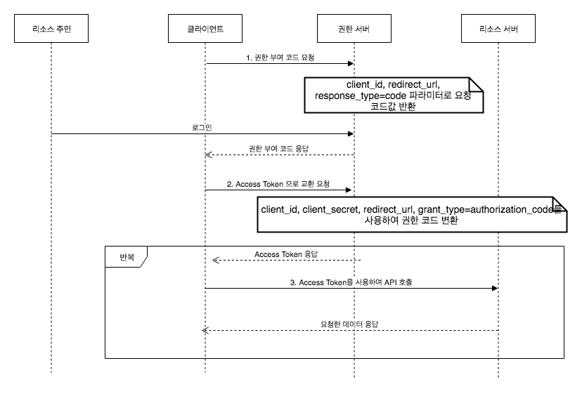
Authorization Code Grant

- 순서 : 클라이언트 → 인가 서버 → 자원 서버
- 처리 위치: 프론트엔드 + 백엔드 협력
- 장점
- 액세스 토큰을 서버 사이드에서 안전하게 관리
- 리프레시 토큰 사용으로 장기간 세션 유지 가능
- 단점
- 인가 코드 교환 단계를 거쳐 구현이 다소 복잡
- 요청·응답이 많아져 사용자 경험이 약간 저하될 수 있음
Implicit Grant

- 순서: 클라이언트 → 자원 서버
- 처리 위치: 프론트엔드 전용
- 장점:
- 서버 코드 없이 클라이언트 측에서 바로 토큰 수신 가능
- 구현 및 실행이 매우 간단
- 단점:
- 토큰이 URL에 노출되어 보안 취약
- 리프레시 토큰을 받지 못해 토큰 만료 시 재로그인이 필요
Resource Owner Password Credentials (ROPC) Grant

- 방식: 사용자명과 비밀번호를 직접 제공
- 처리 위치: 프론트엔드 전용
- 장점:
- 로그인 폼만 있으면 바로 토큰 요청 가능
- 구현이 매우 직관적이고 단순
- 단점:
- 클라이언트가 사용자의 비밀번호를 직접 다루어야 하므로 보안 위험 큼
- 최신 보안 권고에서 사용 금지 권장
Client Credentials Grant

- 방식: 서버 간 통신
- 처리 위치: 백엔드 전용
- 장점
- 머신 대 머신 통신에 간단하고 안전
- 사용자 개입 없이 애플리케이션 자체 권한으로 토큰 발급
- 단점
- 사용자별 권한을 다룰 수 없어, 사용자 로그인에는 적합하지 않음
정리:
- Implicit, Password → 프론트단만
- Client Credentials → 백엔드단만
- Authorization Code → 프론트,백엔드 협력.
초보자가 자주 만나는 오류 & 해결법
CORS 에러
- 원인:
React localhost:3000→API localhost:8000요청 시 브라우저가 도메인이 다르다고 차단 - 해결: 백엔드에서
Access-Control-Allow-Origin헤더 허용하거나, 프록시 설정을 통해 같은 출처로 보이게 설정
redirect_uri_mismatch
- 원인: OAuth 제공자 설정의 리디렉트 URI와 요청 URI가 1:1로 일치하지 않음
- 해결: 프로토콜, 도메인, 포트, 경로까지 완벽히 동일하게 등록·전달
invalid_client
- 원인: 잘못된 Client ID/Secret- 사용 시 발생
- 해결: 발급받은 값을 환경변수나 설정 파일에 오타 없이- 정확히 입력
토큰 만료 (invalid_token)
- 원인: 액세스 토큰 유효기간 경과 시
401 Unauthorized반환 - 해결: 리프레시 토큰(
grant_type=refresh_token)으로 새 액세스 토큰 발급, 없으면 다시 로그인
FastAPI + React로 구현 흐름
1. React → Google 인증 페이지로 이동
function handleGoogleLogin() {
const clientId = "YOUR_CLIENT_ID";
const redirectUri = "http://localhost:8000/auth/google/callback";
window.location.href =
`https://accounts.google.com/o/oauth2/v2/auth?` +
`client_id=${clientId}` +
`&redirect_uri=${encodeURIComponent(redirectUri)}` +
`&response_type=code&scope=openid%20email%20profile`;
}
2. Google → FastAPI에 인가 코드 전송
- 사용자가 동의 후,
http://localhost:8000/auth/google/callback?code=ABC123로 리디렉션됩니다.
3. FastAPI에서 코드 → 토큰 교환
from fastapi import FastAPI, Request
import requests
app = FastAPI()
@app.get("/auth/google/callback")
def google_callback(request: Request):
code = request.query_params.get("code")
token_resp = requests.post(
"https://oauth2.googleapis.com/token",
data={
"code": code,
"client_id": "YOUR_CLIENT_ID",
"client_secret": "YOUR_CLIENT_SECRET",
"redirect_uri": "http://localhost:8000/auth/google/callback",
"grant_type": "authorization_code",
}
)
tokens = token_resp.json()
return tokens
4. FastAPI → Resource Server(구글)에서 사용자 정보 조회
user_info = requests.get(
"https://openidconnect.googleapis.com/v1/userinfo",
headers={"Authorization": f"Bearer {tokens['access_token']}"}
).json()
5. React에 로그인 결과 전달
- FastAPI가 사용자 정보를 JSON으로 반환하면, React는 이를 받아 화면에 표시하거나 상태 관리에 활용합니다.